12月1日,國網新能源云公示福建省2026年度增量新能源項目機制電價競價結果。
根據結果公示,2026年按海上光伏競價項目競價出清結果:機制電量規模1596912.011兆瓦時,機制電價水平388元/兆瓦時,項目10個;按其他新能源類型競價項目競價出清結果:機制電量規模661291.372兆瓦時,機制電價水平350元/兆瓦時,項目6294個。
根據福建發改委發布文件,本次競價主體項目要求2025年6月1日(含)至2026年12月31日(含)期間已全容量并網投產或計劃全容量并網投產、且未納入過機制執行范圍,不包括2025年1月27日(不含)前競爭性配置的海上風電項目。分布式新能源項目可以委托競價代理商參與競價。
競價組織分類區分海上光伏、其他新能源兩種技術類型。海上光伏競價場次有效申報項目少于5個(不含),不開展出清。從本次起算,有效出清的海上光伏單獨分類競價原則上不超過3次。
機制電量總規模46.3億千瓦時。其中海上光伏14.5億千瓦時,其他新能源31.8億千瓦時。
申報充足率125%,單個項目電量申報上限為90%,執行期限12年。
競價上下限:海上光伏上限為393.2元/兆瓦時,其他新能源上限為357.0元/兆瓦時;下限統一為160.0元/兆瓦時。
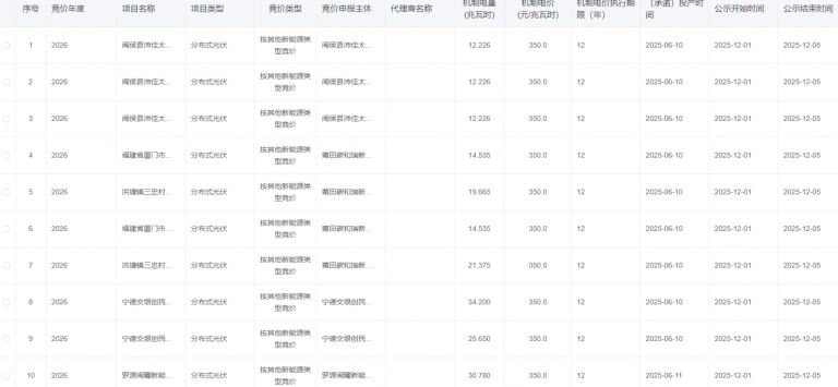
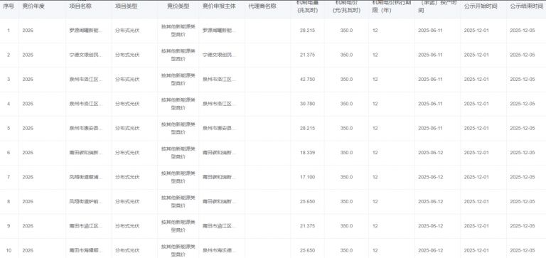
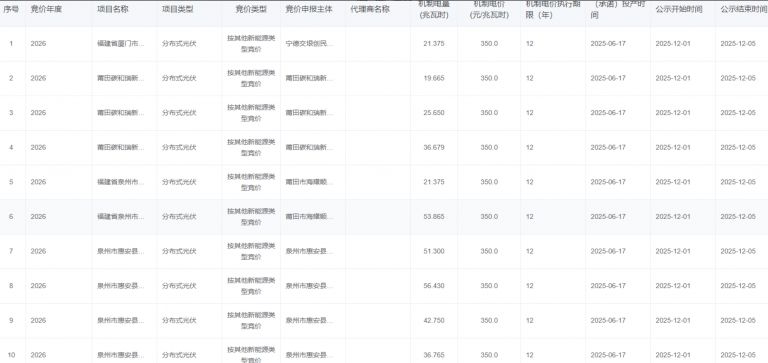
部分項目如下:







特別聲明:本網站轉載的所有內容,均已署名來源與作者,版權歸原作者所有,若有侵權,請聯系我們刪除。凡來源注明低碳網的內容為低碳網原創,轉載需注明來源。